Działka na sprzedaż
59 354 zł
1 006 m2









1 / 9
Szczegóły ogłoszenia
- Symbol oferty BAJ-GS-6598
- Typ oferty działka na sprzedaż
- Cena 59 354 zł
- Charakterystyka mieszkania 1006 m2
- Media Woda: w drodze; Prąd: w ulicy
- Dojazd ASFALTOWA
- Działka częściowo zagospodarowana, płaska, prostokąt
- Otoczenie działki niezabudowane
Lokalizacja
- Adres kujawsko-pomorskie, Grudziądz (gw), Sztynwag
Opis nieruchomości
Biuro nieruchomości BAJ HOME przedstawia Państwu atrakcyjną działkę zlokalizowaną w spokojnej okolicy w miejscowości Sztynwag przy ul. Truskawkowej niedaleko Grudziądza. Działka położona jest w województwie kujawsko- pomorskim, w powiecie grudziądzkim, w gminie Grudziądz. Powierzchnia działki to 1006 m2.
Nieruchomość znajduje się na pięknych i malowniczych terenach otoczona drzewami. Jest to miejsce w spokojnej okolicy, w sąsiedztwie nowych zabudowań jednorodzinnych. Działka leży w odległości 11 km od Grudziądza, 700 m od drogi krajowej nr 55, prowadzącej z Grudziądza do Stolna i ok. 6 km od najbliższego zjazdu z autostrady A1. Dogodny dojazd do działki bezpośrednio z drogi gminnej, asfaltowej.
W bliskiej odległości od nieruchomości znajdują się szkoła podstawowa, przedszkole, plac zabaw, przychodnia zdrowia oraz sklepy spożywcze.
Działka przeznaczona jest pod budowę budynku mieszkalnego jednorodzinnego lub jednorodzinnego w zabudowie bliźniaczej. Lokalizacja nieruchomości zapewni relaks i kontakt z przyrodą.
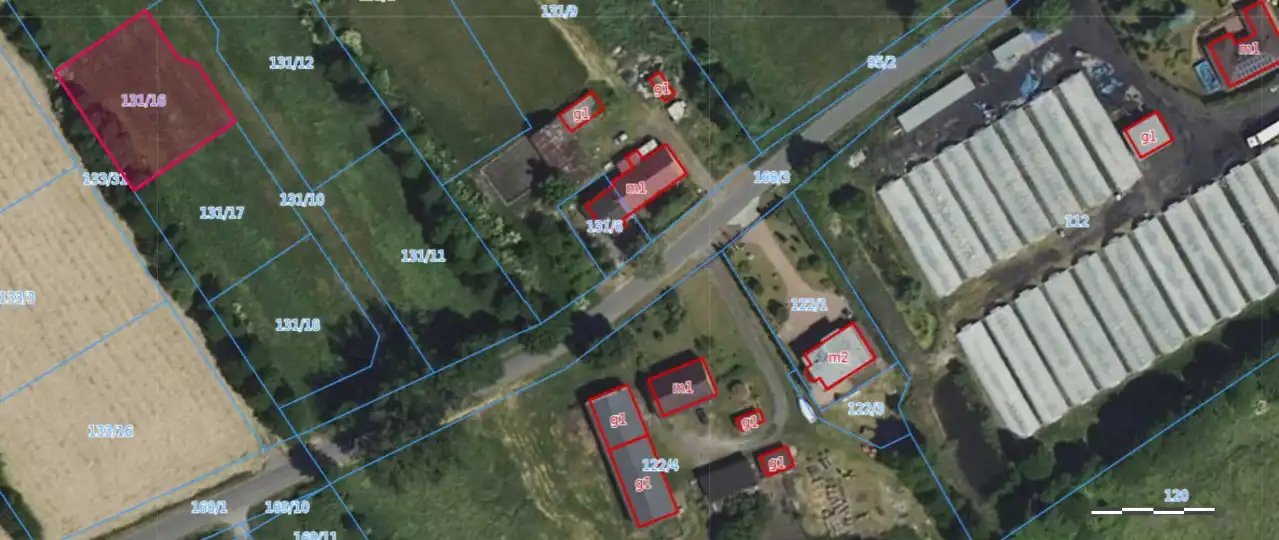
Posiadamy na sprzedaż 5 działek:
Działka nr 131/11 - 1543 m2 - sprzedana;
Działka nr 131/12 - 1529 m2 - sprzedana;
Działka nr 131/13 - 1564 m2;
Działka nr 131/15 - 1654 m2;
Działka nr 131/16 - 1006 m2;
Cena każdej z działek to 59 zł/m2.
Działka nr 131/10 - 1038 m2 stanowi wewnętrzną drogę dojazdową, w której nabywca działki budowlanej będzie posiadał udziały.
Dostępne media znajdujące się w drodze: prąd, woda, sieć telekomunikacyjna;
Na terenie, o którym mowa dopuszcza się lokalizację zabudowy jednorodzinnej we wszystkich jej formach oraz małych domów mieszkalnych.
Zainteresowane osoby zapraszam do zapoznania się z ofertą pod nr tel. 604 765 378
Nota prawna
Opis oferty zawarty na stronie internetowej sporządzany jest na podstawie oględzin nieruchomości oraz informacji uzyskanych od właściciela, może podlegać aktualizacji i nie stanowi oferty określonej w art. 66 i następnych K.C.
Kalkulator kredytowy
Formularz kontaktowy